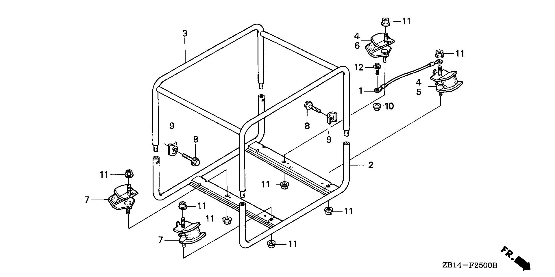
Generators EG EG1400 EG1400X A GX110-1000001-2454428 FRAME - Gerald Jones Honda

Ref No
Part Number
Description
Serial Range
Qty
Price

Ref No
1
Part Number
32610-899-000
Description
CABLE, GROUND
Serial Range
1817698 - 9999999
Qty
Price
$14.32

Ref No
2
Part Number
50310-ZB0-800
Description
FRAME (LOWER) (NOT AVAILABLE)
Serial Range
1000001 - 1817697

Ref No
2
Part Number
50310-ZB0-830
Description
FRAME (LOWER) (NOT AVAILABLE)
Serial Range
1817698 - 9999999

Ref No
3
Part Number
50350-ZB0-800
Description
FRAME (UPPER) (NOT AVAILABLE)
Serial Range
1000001 - 9999999

Ref No
4
Part Number
68325-ZB2-003
Description
RUBBER (LOWER)
Serial Range
1000001 - 9999999
Qty
Price
$43.18

Ref No
7
Part Number
68328-ZB2-000
Description
RUBBER (LOWER)
Serial Range
1000001 - 9999999
Qty
Price
$31.34

Ref No
8
Part Number
90015-898-000
Description
BOLT, FLANGE (8X20)
Serial Range
1000001 - 1758516
Qty
Price
$2.78

Ref No
8
Part Number
95701-08016-00
Description
BOLT, FLANGE (8X16)
Serial Range
2117519 - 9999999
Qty
Price
$2.20

Ref No
8
Part Number
95701-08020-00
Description
BOLT, FLANGE (8X20)
Serial Range
1758517 - 2117518
Qty
Price
$2.28

Ref No
9
Part Number
90501-898-000
Description
WASHER, FRAME JOINT
Serial Range
1000001 - 9999999
Qty
Price
$2.84

Ref No
10
Part Number
94050-06080
Description
NUT, FLANGE (6MM)
Serial Range
1817698 - 9999999

Ref No
11
Part Number
94050-08000
Description
NUT, FLANGE (8MM)
Serial Range
1000001 - 9999999

Ref No
12
Part Number
95701-06010-00
Description
BOLT, FLANGE (6X10)
Serial Range
1817698 - 9999999
Qty
Price
$1.54