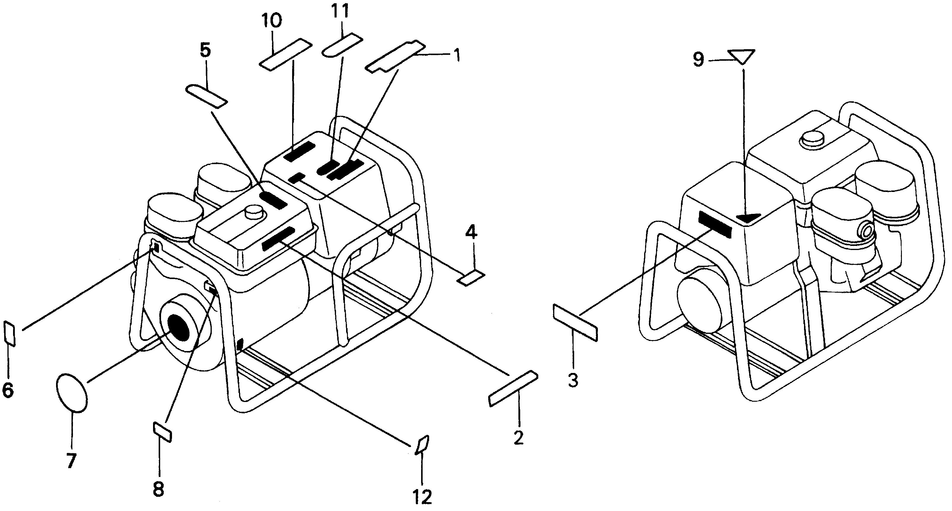
Generators EG EG5000 EG5000X AR EA7-4000001-4100000 EG LABEL - Gerald Jones Honda

Ref No
Part Number
Description
Serial Range
Qty
Price

Ref No
1
Part Number
87101-ZC2-930
Description
EMBLEM (EG) (NOT AVAILABLE)
Serial Range
1000001 - 9999999

Ref No
2
Part Number
87103-ZB4-C30
Description
EMBLEM, FUEL TANK (NOT AVAILABLE)
Serial Range
1000001 - 9999999

Ref No
3
Part Number
87150-ZC2-930
Description
PLATE, CAUTION (NOT AVAILABLE)
Serial Range
1000001 - 9999999

Ref No
4
Part Number
87168-ZC3-630
Description
LABEL, RAIN WARNING (ENGLISH)
Serial Range
4026094 - 9999999
Qty
Price
$5.22

Ref No
5
Part Number
87522-883-660
Description
MARK, CAUTION (ENGLISH/FRENCH/SPANISH)
Serial Range
4026094 - 9999999
Qty
Price
$4.86

Ref No
6
Part Number
87528-ZE2-810
Description
MARK, CHOKE (ORANGE)
Serial Range
1000001 - 9999999
Qty
Price
$3.22

Ref No
7
Part Number
87530-ZB4-000
Description
MARK, OIL ALERT (NOT AVAILABLE)
Serial Range
1000001 - 9999999

Ref No
8
Part Number
87532-ZE1-810
Description
MARK, OIL ALERT (EXTERNAL) (NOT AVAILABLE)
Serial Range
1000001 - 9999999

Ref No
9
Part Number
87560-ZA8-Y00
Description
LABEL, RENTAL USE (NOT AVAILABLE)
Serial Range
1000001 - 9999999

Ref No
10
Part Number
87561-880-600
Description
MARK, CAUTION (ENGLISH/FRENCH/SPANISH)
Serial Range
1000001 - 9999999
Qty
Price
$5.40

Ref No
11
Part Number
87563-ZB4-631
Description
LABEL, CONNECT WARNING (ENGLISH)
Serial Range
1000001 - 9999999
Qty
Price
$6.62

Ref No
12
Part Number
87594-ZB4-620
Description
MARK, OIL CAUTION
Serial Range
1000001 - 9999999
Qty
Price
$5.16