Generators EG EG5000 EG5000X AR EA7-4000001-4100000 TOOLS - Gerald Jones Honda

Ref No
Part Number
Description
Serial Range
Qty
Price

Ref No
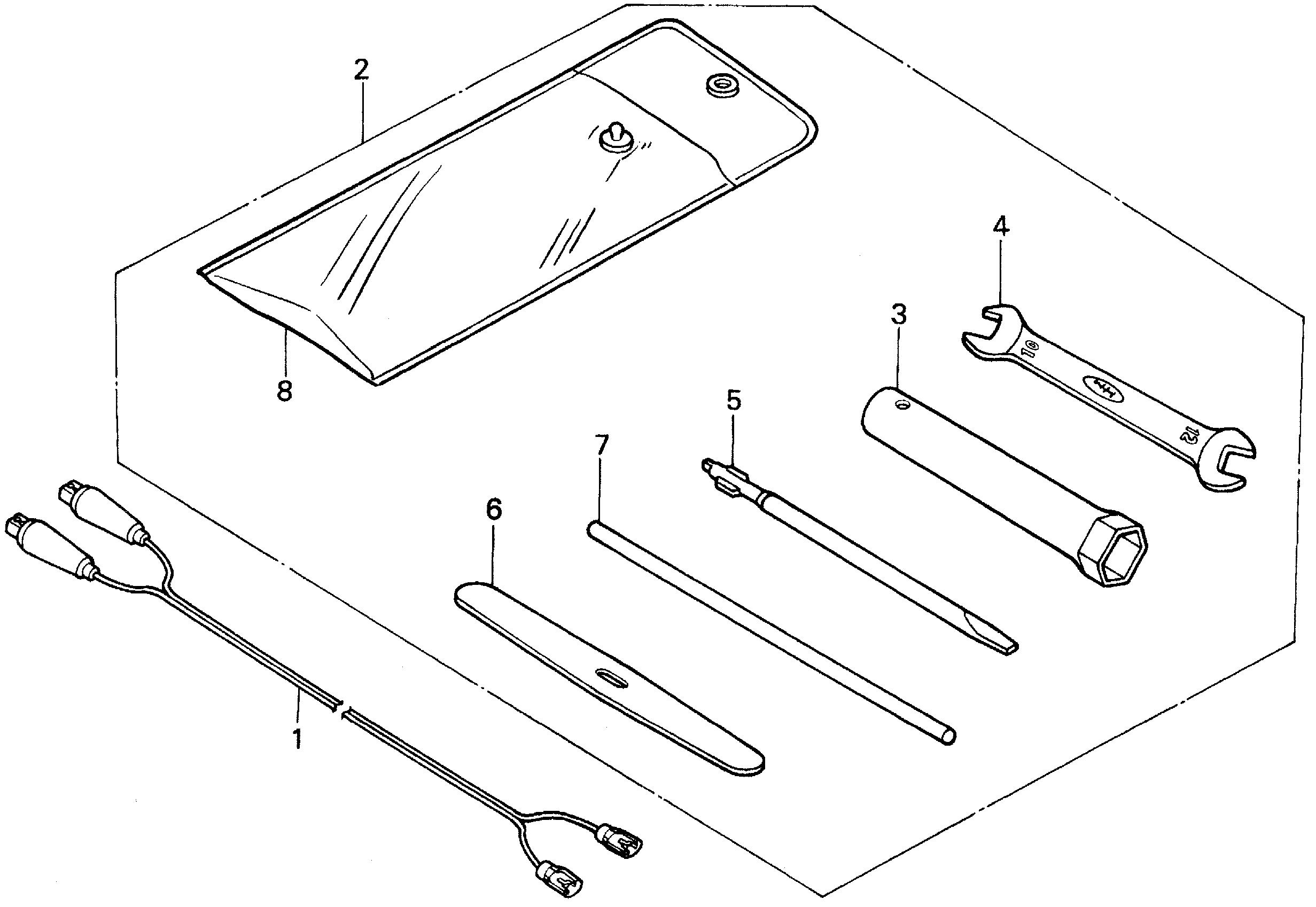
2
Part Number
89000-898-000
Description
TOOL KIT (NOT AVAILABLE)
Serial Range
1000001 - 9999999

Ref No
3
Part Number
99004-21002
Description
WRENCH, BOX (P21)
Serial Range
1000001 - 9999999
Qty
Price
$4.72

Ref No
4
Part Number
99001-10120
Description
SPANNER (10X12)
Serial Range
1000001 - 9999999
Qty
Price
$6.86

Ref No
5
Part Number
99003-30000
Description
DRIVER 3, MINUS SCREW (NO.2)
Serial Range
1000001 - 9999999
Qty
Price
$4.80

Ref No
6
Part Number
99003-40000
Description
LEVER
Serial Range
1000001 - 9999999
Qty
Price
$1.56

Ref No
7
Part Number
99005-01000
Description
BAR A, HANDLE
Serial Range
1000001 - 9999999
Qty
Price
$1.54

Ref No
8
Part Number
89101-ME5-670
Description
BAG, TOOL
Serial Range
1000001 - 9999999