Generators EZ EZ2500 EZ2500 A EZEJ-1000001-9999999 ROTOR STATOR - Gerald Jones Honda

Ref No
Part Number
Description
Serial Range
Qty
Price

Ref No
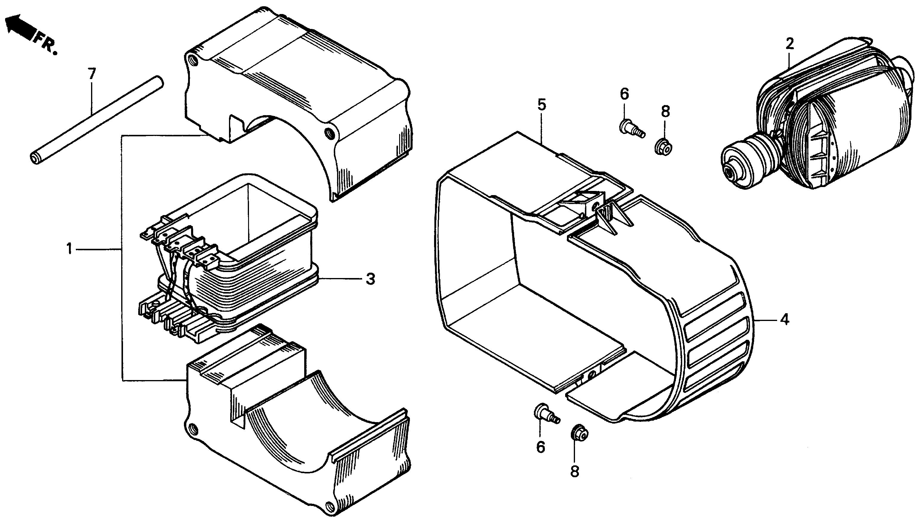
1
Part Number
31010-ZS2-H60
Description
CORE SET, STATOR
Serial Range
1000001 - 9999999

Ref No
2
Part Number
31130-ZS2-H62
Description
ROTOR (EZ-R)
Serial Range
1000001 - 9999999
Qty
Price
$385.06

Ref No
3
Part Number
31150-ZS2-G31
Description
BOBBIN, STATOR COIL (EZ-A)
Serial Range
1000001 - 9999999
Qty
Price
$167.79

Ref No
4
Part Number
31181-ZS2-H61
Description
COVER, R. STATOR
Serial Range
1000001 - 9999999

Ref No
5
Part Number
31182-ZB3-000
Description
COVER, L. STATOR
Serial Range
1000001 - 9999999

Ref No
6
Part Number
90018-ZA5-000
Description
BOLT, STATOR COVER SETTING
Serial Range
1000001 - 9999999
Qty
Price
$2.24

Ref No
7
Part Number
90701-ZB3-000
Description
PIN, DOWEL (11X121)
Serial Range
1000001 - 9999999
Qty
Price
$27.34

Ref No
8
Part Number
94050-05000
Description
NUT, FLANGE (5MM)
Serial Range
1000001 - 9999999
Qty
Price
$1.60