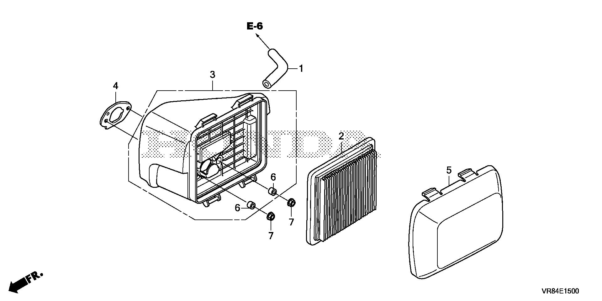
Lawn Mowers HRN HRN216 HRN216 VYAA MANA-1000001-9999999 AIR CLEANER - Gerald Jones Honda

Ref No
Part Number
Description
Serial Range
Qty
Price

Ref No
1
Part Number
15721-Z9L-000
Description
TUBE, BREATHER
Serial Range
1000001 - 9999999
Qty
Price
$5.74

Ref No
2
Part Number
17211-Z8B-901
Description
ELEMENT, AIR CLEANER (WIX FILTERS)
Serial Range
1000001 - 9999999
Qty
Price
$9.80

Ref No
3
Part Number
17220-Z9V-000
Description
HOUSING, AIR CLEANER
Serial Range
1000001 - 9999999
Qty
Price
$21.52

Ref No
4
Part Number
17228-Z9L-000
Description
GASKET, AIR CLEANER
Serial Range
1000001 - 9999999
Qty
Price
$4.70

Ref No
5
Part Number
17231-Z9L-000
Description
COVER, AIR CLEANER
Serial Range
1000001 - 9999999

Ref No
6
Part Number
17238-Z9L-300
Description
COLLAR, AIR CLEANER
Serial Range
1000001 - 9999999
Qty
Price
$2.04

Ref No
6
Part Number
17238-ZG9-M00
Description
COLLAR, AIR CLEANER
Serial Range
1000001 - 9999999
Qty
Price
$6.10

Ref No
7
Part Number
94050-06000
Description
NUT, FLANGE (6MM)
Serial Range
1000001 - 9999999
Qty
Price
$0.82