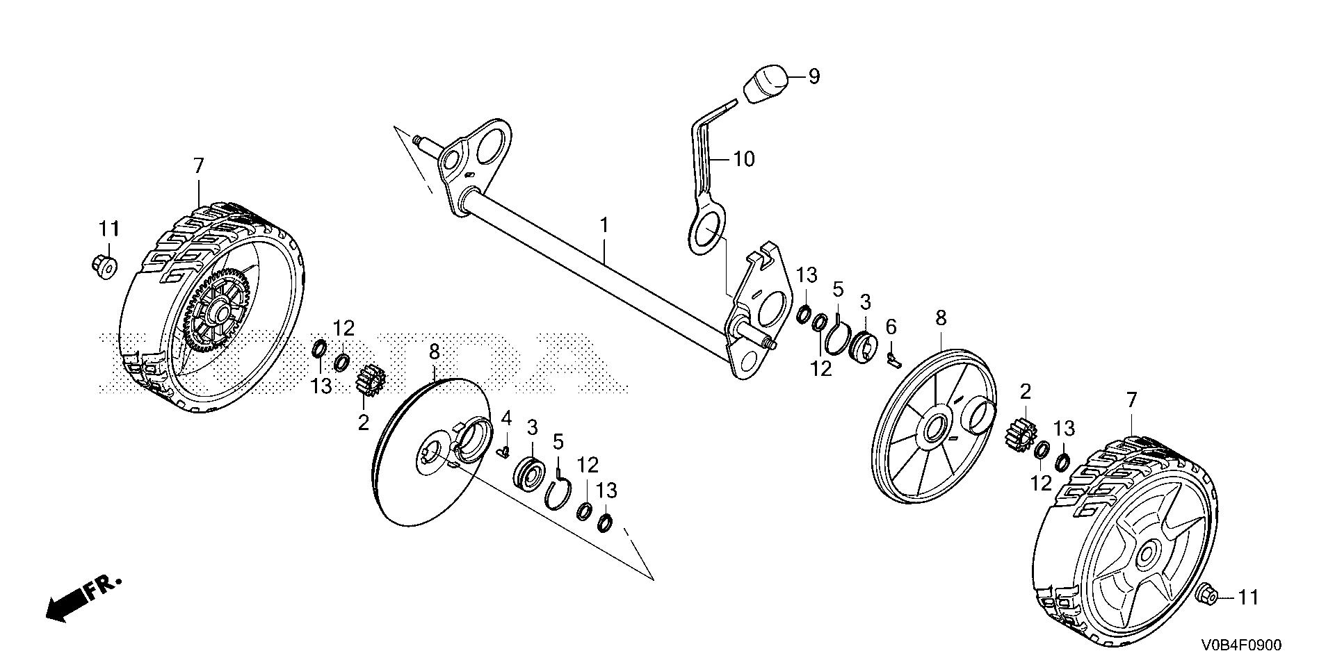
Lawn Mowers HRN HRN216 HRN216YXB VKA4 MACY-1000001-9999999 REAR WHEEL - Gerald Jones Honda

Ref No
Part Number
Description
Serial Range
Qty
Price

Ref No
1
Part Number
42310-VR8-N00
Description
SHAFT, RR. AXLE
Serial Range
1000001 - 9999999
Qty
Price
$17.12

Ref No
2
Part Number
42661-VR8-N00
Description
GEAR, PINION (13T)
Serial Range
1000001 - 9999999

Ref No
3
Part Number
42666-VR8-N00
Description
HOLDER, RATCHET
Serial Range
1000001 - 9999999

Ref No
4
Part Number
42667-VR8-N01
Description
RATCHET (R)
Serial Range
1000001 - 9999999

Ref No
5
Part Number
42668-VR8-N00
Description
SPRING, RATCHET RETURN
Serial Range
1000001 - 9999999

Ref No
6
Part Number
42669-VR8-N01
Description
RATCHET (L)
Serial Range
1000001 - 9999999

Ref No
7
Part Number
42710-VR8-N00ZB
Description
WHEEL, RR. *TBLACK* (BLACK)
Serial Range
1000001 - 9999999
Qty
Price
$7.07

Ref No
8
Part Number
42866-VR8-N00
Description
COVER
Serial Range
1000001 - 9999999
Qty
Price
$4.02

Ref No
9
Part Number
42950-VR8-N00ZA
Description
GRIP, ADJUSTER *NH164* (GRIP GRAY)
Serial Range
1000001 - 9999999
Qty
Price
$13.94

Ref No
10
Part Number
42961-VR8-N00
Description
PLATE, RR. ADJUSTER
Serial Range
1000001 - 9999999
Qty
Price
$4.54

Ref No
11
Part Number
90301-V45-A00
Description
NUT, FLANGE (8MM)
Serial Range
1000001 - 9999999
Qty
Price
$3.30

Ref No
12
Part Number
90502-VR8-N00
Description
WASHER (12.8X17.5X1.0)
Serial Range
1000001 - 9999999
Qty
Price
$1.18

Ref No
13
Part Number
90651-VE2-800
Description
CIRCLIP (OUTER) (12.7MM)
Serial Range
1000001 - 9999999
Qty
Price
$0.22