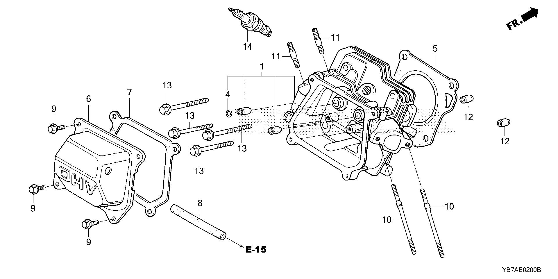
Water Pumps WH WH20 WH20XK1 AC1/A GC02-8670001-9099999 CYLINDER HEAD - Gerald Jones Honda

Ref No
Part Number
Description
Serial Range
Qty
Price

Ref No
1
Part Number
12210-ZH8-415
Description
CYLINDER HEAD
Serial Range
1000001 - 9999999
Qty
Price
$158.30

Ref No
2
Part Number
12204-ZE1-306
Description
GUIDE, VALVE (OVER SIZE) (NOT AVAILABLE)
Serial Range
1000001 - 9999999

Ref No
4
Part Number
12216-ZE5-300
Description
CLIP, VALVE GUIDE
Serial Range
1000001 - 9999999
Qty
Price
$1.68

Ref No
5
Part Number
12251-ZF1-800
Description
GASKET, CYLINDER HEAD
Serial Range
1000001 - 9999999

Ref No
5
Part Number
12251-ZF1-801
Description
GASKET, CYLINDER HEAD
Serial Range
1000001 - 9999999
Qty
Price
$18.72

Ref No
6
Part Number
12310-ZE1-020
Description
COVER, HEAD
Serial Range
1000001 - 9999999
Qty
Price
$19.46

Ref No
7
Part Number
12391-ZE1-000
Description
GASKET, HEAD COVER
Serial Range
1000001 - 9999999

Ref No
8
Part Number
15721-ZH8-000
Description
TUBE, BREATHER
Serial Range
1000001 - 9999999
Qty
Price
$4.56

Ref No
9
Part Number
90013-883-000
Description
BOLT, FLANGE (6X12) (CT200)
Serial Range
1000001 - 9999999

Ref No
10
Part Number
90043-ZE1-020
Description
BOLT, STUD (6X112)
Serial Range
1000001 - 9999999
Qty
Price
$6.38

Ref No
11
Part Number
90047-ZE1-000
Description
BOLT, STUD (8X32)
Serial Range
1000001 - 9999999
Qty
Price
$4.34

Ref No
12
Part Number
94301-10160
Description
PIN, DOWEL (10X16)
Serial Range
1000001 - 9999999
Qty
Price
$3.00

Ref No
13
Part Number
95723-08060-00
Description
BOLT, FLANGE (8X60)
Serial Range
4532610 - 9999999
Qty
Price
$2.28

Ref No
14
Part Number
98079-56846
Description
SPARK PLUG (BPR6ES) (NGK)
Serial Range
1349665 - 9999999
Qty
Price
$2.98

Ref No
14
Part Number
98079-56855
Description
SPARK PLUG (W20EPR-U) (DENSO)
Serial Range
1000001 - 9999999
Qty
Price
$3.20